
حصلت فيفو على براءة اختراع من المنظمة العالمية للملكية الفكرية (الويبو)، حيث تكشف عن تصميم مبتكر للغاية يتكون من وحدة كاميرا مدمجة قابلة للفصل.

تفاصيل براءة اختراع فيفو
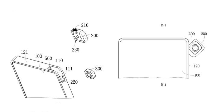
وفقًا لبراءة الاختراع الجديدة من فيفو، يمكن توصيل الكاميرا بفتحة في أحد الزوايا العلوية لهاتف ذكي متوافق، بمجرد إرفاقها، تظل مخفية تمامًا عن الأنظار، هذا يترك الشاشة بأكملها متاحة لعرض المحتوى، يمكن أن ينتج عن ذلك الكثير من الأشياء مثل وحدات الكاميرا سهلة الإصلاح والكاميرات الموجودة في الشاشة القابلة للترقية والمزيد.
تأتي وحدة الكاميرا القابلة للفصل مع آلية تحرير تفصل وحدة الكاميرا عن جسم الهاتف. توضح براءة الاختراع إجراءين متحركين لوحدة الكاميرا المدمجة القابلة للفصل، في الأولى، تدور الوحدة للخارج لتعمل ككاميرا أمامية نموذجية، ستكون الوحدة كاملة مع عنصر العدسة الخاص بها.

وبالتالي لن تعتمد على مرفق عدسة ثلاثي أو الشاشة نفسها لتعمل كمستقبل للضوء للكاميرا، من المفترض أن تعمل الآلية بشكل مشابه لوحدة الكاميرا المنبثقة التي استخدمتها بعض الشركات في الماضي.
اقرأ أيضًا.. سعر ومواصفات فيفو واي 21 – vivo Y21 رسميًا
لكن كيف ستكون التجربة مع هذه الوحدة القابلة للفصل، لسوء الحظ، لا توضح براءة الاختراع ما إذا كانت الكاميرا القابلة للفصل ستحتوي على نوع من الذاكرة المؤقتة ومستقبلات الإشارة فيها أيضًا.

وفقًا للتقرير، إذا كانت الكاميرا تحتوي على ذاكرة تخزين مؤقت للصور وجهاز استقبال إشارة، فيمكن للمستخدمين استخدامها كوحدة كاميرا عن بُعد، ويمكن للمستخدمين وضعها في أي وضع يحلو لهم، بعيدًا عن هيكل الهاتف الرئيسي.
يمكن للكاميرا معالجة الصورة النهائية بمجرد عودة وحدة الكاميرا الداخلية القابلة للفصل إلى الإطار الرئيسي للهاتف.
ما رأيكم في براءة الاختراع هذه؟ شاركونا في التعليقات.






